Apple выдан патент на гарнитуру, в которой используется дисплей смартфона

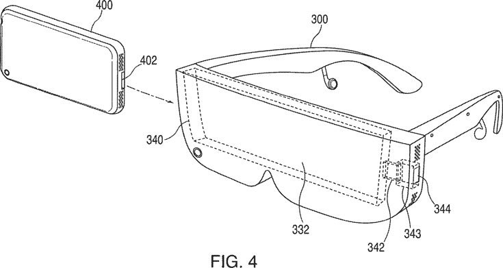
На минувшей неделе американское патентное бюро выдало компании Apple патент №9595237. В нем описана носимая на голове гарнитура, в которой используется дисплей мобильного устройства.

По замыслу изобретателей, пользователь может «временно интегрировать» мобильное устройств в гарнитуру, позволяющую носить его на голове. При этом электронная часть гарнитуры может подключаться к мобильному устройству, чтобы оба компонента работали совместно. Гарнитура и мобильное устройство дополняют и расширяют возможности друг друга, а также могут отключать некоторые функции во избежание дублирования.

Заявка на патент была подана в июле прошлого года.

Источник: USPTO

Теги:

Комментировать